Главная » Машины и механизмы » Кузовные характеристики Ford Focus 2: необходимая информация для водителей и потенциальных покупателей

Кузовные характеристики Ford Focus 2: необходимая информация для водителей и потенциальных покупателей

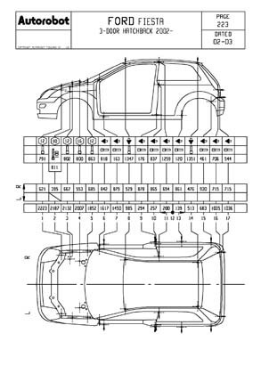
Узнайте все о размерах кузова Ford Focus 2, чтобы легко парковаться и выбирать гаражи в соответствии с размерами вашего автомобиля. Узнайте также о наиболее эффективном способе поддерживать и предотвращать повреждения кузова.


Перед тем как покупать гараж, убедитесь, что его размеры соответствуют размерам кузова вашего Ford Focus 2, чтобы избежать проблем с парковкой и хранением.

Хитрая Проверка Катализатора без снятия...

Обзор на Форд Фокус 2 спустя 15 лет

.Кузовной ремонт. Асимметрия в геометрии кузова.

Если вы часто сталкиваетесь с преградами или специфическими требованиями по парковке, обратитесь к руководству автомобиля, чтобы узнать точные размеры вашего Ford Focus 2 и лучшие практики парковки.


.Кузовной ремонт. Как тянуть лонжероны с умом.

Ford Focus II. КУЗОВНОЙ РЕМОНТ МОРДЫ ЛИЦА

How to measure distance. Как измерить диагонали.

ВОТ ТАК ДОЛЖЕН ВЫГЛЯДЕТЬ FORD FOCUS 2

кузовные размеры. нужны ли они???

Регулярно проверяйте и поддерживайте состояние кузова, чтобы предотвратить его повреждение и сохранить внешний вид вашего Ford Focus 2 в отличном состоянии.

Как померить геометрию кузова. Размеры кузова

Обзор: Ford Focus 2 и 3 поколения — Кто Победит?