Главная » Машины и механизмы » Подключение трехфазного двигателя на 220 вольт без использования конденсатора: советы и подробная инструкция

Подключение трехфазного двигателя на 220 вольт без использования конденсатора: советы и подробная инструкция

Ищете способ подключить трехфазный двигатель на напряжение 220 вольт без применения конденсатора? В этой статье вы найдете полезные советы и подробную инструкцию, которая поможет вам осуществить данную задачу. Без необходимости устанавливать контрольный конденсатор, вы сможете успешно подключить трехфазный двигатель на 220 вольт в вашем автомобиле или другом устройстве.


Обратите внимание на полную спецификацию и документацию вашего трехфазного двигателя, чтобы убедиться, что он может быть подключен без использования конденсатора на напряжение 220 вольт.

Подключение электро-мотора 380/220V звездой и треугольником!

Как подключать МОЩНЫЙ МОТОР без конденсатора В РОЗЕТКУ

ПРОСТОЙ И БЕСПЛАТНЫЙ ГЕНЕРАТОР ДЛЯ ДОМА! ИЗ АСИНХРОННОГО ДВИГАТЕЛЯ БЕЗ ПЕРЕДЕЛКИ

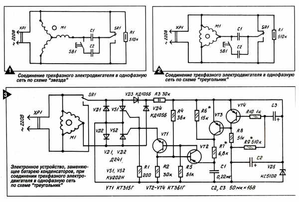
Используйте специальный трехфазный преобразователь частоты для подключения двигателя, который позволяет работать с напряжением 220 вольт без применения конденсатора. Это обеспечит эффективность работы и продлит срок службы двигателя.


Пошаговая схема подключения трехфазного двигателя в однофазную сеть. Повторение - мать учения!

Как трехфазный асинхронный двигатель работает на одной фазе? #энерголикбез

ЧТО, ЕСЛИ трехфазный электродвигатель просто подключить в обычную розетку.

Самый простой способ запуска асинхронного двигателя 380в от 220в без конденсаторов и схем!

Как просто подключить трехфазный двигатель треугольником и звездой в сеть 220, через конденсатор.

ЗАПУСК ТРЕХФАЗНОГО ДВИГАТЕЛЯ С 220 БЕЗ КОНДЕНСАТОРОВ

При подключении трехфазного двигателя на 220 вольт без конденсатора, убедитесь в правильности соединения проводов и заземления для обеспечения безопасности и надежности работы устройства.

Подключение электродвигателя 380 на 220В