Главная » Технические аспекты » Инструкция по настройке сцепления на ЛуАЗ: полезные советы и рекомендации

Инструкция по настройке сцепления на ЛуАЗ: полезные советы и рекомендации

Следующая статья предлагает полезные советы по регулировке сцепления на автомобиле ЛуАЗ. Вы узнаете, как правильно настроить сцепление, чтобы обеспечить эффективную передачу мощности и плавное переключение скоростей. Детальные инструкции помогут вам выполнить регулировку самостоятельно, экономя ваше время и деньги.


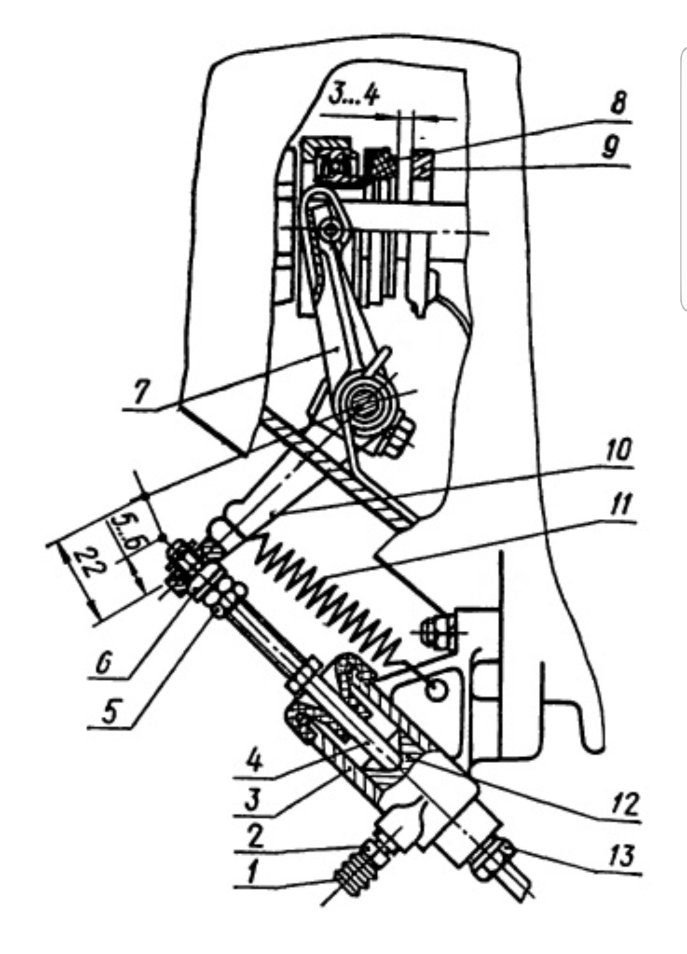
Перед началом регулировки сцепления на ЛуАЗ обязательно изучите руководство пользователя и проверьте состояние всех необходимых компонентов системы сцепления, таких как педаль сцепления, плиты сцепления и направляющий механизм. При необходимости замените или отремонтируйте детали.

Как БЫСТРО проверить сцепление. 2 лучших способа проверить ИЗНОС дисков сцепления

Как отрегулировать сцепление

Работа сцепления 3

Одним из ключевых моментов при регулировке сцепления на ЛуАЗ является правильная настройка свободного хода педали сцепления. Убедитесь, что ход педали соответствует рекомендациям производителя и позволяет вам комфортно и без усилий тормозить и переключаться скоростей.


ЛУАЗ устанавливаем рабочий цилиндр сцепления от ВАЗ

Купил редкий и странный внедорожник! Обзор на мой ЛуАЗ-969. Оффроад, тест-драйв и замер максималки!

Меняем сцепление на ЛуАЗе

Регулировка сцепления ЛУАЗ

Сцепление на ЛУАЗе

ЛуАЗ. Замена диска сцепления от \

Когда вы настраиваете высвобождение сцепления, обратите внимание на точку срабатывания сцепления. Она должна быть расположена на определенном расстоянии от пола и позволять вам плавно и без рывков сцеплять и разделять механизм сцепления при переключении скоростей.

ЛУАЗ. Проверка и регулировка корзины.