Главная » Технические аспекты » Как работает реле обогрева заднего стекла и как его проверить на поломку

Как работает реле обогрева заднего стекла и как его проверить на поломку

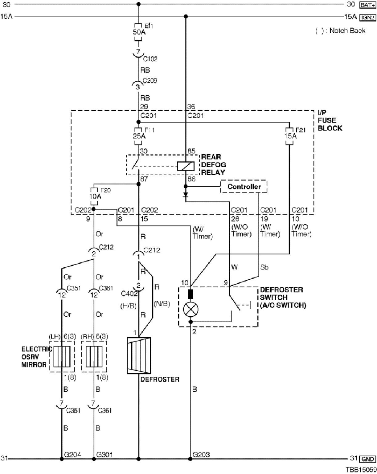
Узнайте, почему реле обогрева заднего стекла в автомобиле Chevrolet Aveo T250 имеет ключевое значение для обеспечения безопасности во время вождения. Узнайте, как правильно работает реле обогрева заднего стекла и как проверить его на предмет неисправностей. Следуйте полезным советам и идеям по обслуживанию и ремонту этой важной детали автомобиля.


Регулярно проверяйте работу реле обогрева заднего стекла, особенно перед зимним периодом.

Предохранители и реле Шевроле Авео T200, T250, T255, T300 с описанием назначения и схемами блоков

Лобовое стекло с обогревом за копейки!

Как проверить обогрев заднего стекла.

При обнаружении неисправностей в реле обогрева заднего стекла, замените его как можно скорее, чтобы избежать проблем с видимостью на заднем стекле во время дождя или снегопада.


Не греет печка? Сделай это и печка будет греть на 110%

Обогрев заднего стекла на Шевроле Авео (94580702)

Ремонт контакта обогрева заднего стекла

Рециркуляция воздуха в машине - КОГДА ее включать? Стекла перестанут потеть, когда узнаешь это ...

Быстрый ремонт обогрева заднего стекла своими руками!

Не забывайте следить за контактами и проводкой, соединяющими реле обогрева заднего стекла, чтобы избежать сбоев и неисправностей в его работе.

Почему каждый водитель обязан знать где и зачем в автомобиле кнопка \

Полезные функции автомобиля шевроле авео, которые не всем известны